Ausstellungshalle ophelis, Bad Schönborn
Es gibt sie, diese Architekturen, die auf den ersten Blick wenig zu sein scheinen. Doch immer lohnt es, sich vom Gegenteil zu überzeugen, das meist gelingt, wenn man in sie hineingeht. Und Räume, Raumabfolgen erlebt: dämmrig, luftig, hell, bunt, weit und anders. In Bad Schönborn haben Ludloff Ludloff ein solches Haus geplant. Mit einer besonderen Hallenkonstruktion, die – als System gedacht – das Potenzial besitzt, zu einem Standard zu werden.
Text: Benedikt Kraft/ DBZ
Foto: Ludloff Ludloff Architekten
Vor dreizehn Jahren veröffentlichten wir einen Mensa-Bau am Tempelhofer Feld, Berlin, von Ludloff + Ludloff Architekten. Das Projekt erhielt 2019, also fast zehn Jahr später, den 1. Preis beim 1. Berliner Holzbaupreis. Damals staunten wir über eine Holzdecke, deren Tragwerk so einfach wie zugleich ausgefallen war: Unter die 50 mm dicke Furnierschichtholzplatte „Kerto Q“ – „das war damals der letzte Schrei, alle wollten damit etwas machen!“, so Jens Ludloff heute im Gespräch – leimten und schraubten die Architekten Lamellen. Quer zur Längsachse, in Blickrichtung nach draußen. Die Lamellen, aus schlichtem KVH, entfalten eine Plattenbalkenwirkung, ohne untereinander verbunden zu sein. Allerdings gab es noch sogenannte „Übergreifungslängen“ von ca. 0,5 m – wie die Stabstähle beim Stahlbetonbau – die die Biegemomente auf die nächstliegende Lamelle zu übertragen hatten. Die Decke über dem Mensa-Raum (s. DBZ 12 | 2010) war damit einachsig gespannt.
Irgendwie fremd in der Fremde: der [SCHAU]RAUM gibt nichts preis, sein Eingang (Rüssel) verweist auf das Bestandsgebäude von ophelis
Foto: Benedikt Kraft
Wie nun, wenn man eine Decke hätte, die zweiachsig gespannt und an den konstituierenden Plattenteilen eine Momentennulllinie erzielte? Man könnte ganz anders konstruieren. Jedenfalls intelligenter, elementierbarer als mit einer stahlbewehrten Plattendecke monolithische Strukturen zu schaffen, die – bei entsprechendem Materialaufwand – ihre Arbeit zuverlässig machen. Kein Grund, das zu hinterfragen?
Der Eingang, ein aus dem Raster verschobener, vom Boden zunächst abgehobener Gang. Links zu sehen Billboards und Verkaufshallen
Foto: Benedikt Kraft
Städtebau
Wer nach Bad Schönborn fährt, ca. 25 km südöstlich von Speyer mit seinem wunderbaren Dombau, um sich dort bei ophelis bezüglich einer Möblierung seiner Büroarbeitswelt beraten zu lassen, sieht den Neubau an der Dr. Alfred-Weckesser-Straße entweder zwischen Lidl und Rossmann auftauchen oder als letzten Baustein der ophelis-Bauten mit Produktionshallen und dem Verwaltungsriegel mit Waschbetonfassadenelementen. Der vom Bauherrn mittlerweile „[SCHAU]RAUM“ genannte Ausstellungsort ist über einen an seinem Anfang leicht schwebenden, fast unmerklich aus dem Achsraster gedrehten „Rüssel“ zu erreichen, der mit ein paar Metern gedecktem Außenraum und dem sich innen weitendem Vorraum die chaotische Gewerbesiedlungslandschaft mit Billboards, Parkplätzen und zahllosen Wegweisern transitorisch verbindet. Am Ende des sich vor allem in die Höhe weitenden Übergangs öffnet sich die Ausstellungshalle rechterhand zu einem Hallenvolumen, das von hell lasierten Gabelstützen und beweglichen Trenn- und Akustikwänden gegliedert ist. Über Kopfhöhe ist die mit einfachen, aber durchaus edel wirkenden Holzlatten verkleidete Innenwand umlaufend durch ein 2,25 m hohes Oberlichtband geöffnet. Allerdings endet der Blick auf den matten Scheiben, die nur die diffuse Lichtfarbe des Himmels draußen wiedergeben, gemischt mit der künstlichen, brillanten, bewusst „schattigen“ Innenbeleuchtung.
In der Halle – dem Raum – werden keine Möbel verkauft, hier werden Arbeitslandschaften probiert und vorgeführt
Foto: Jan Bitter
Städtebaulich bildet das außen gerundete, hinter dunklem Holz versteckte Hallenvolumen einen Ruhepunkt. Es schließt das Grundstück nach Süden, bremst leicht (Rüssel), beschleunigt stärker (Rundungen), duckt sich und ist dennoch das Haus am Platz. Weil es fremd erscheint, neugierig auf sein Inneres macht und sich jeder Daseinsdeutung spielend widersetzt.
In die Halle eingefügt: der Besprechungsraum (hinter der Wand)
Foto: Benedikt Kraft
Innen ein Wald … oder ein Tragwerk mit System
Drinnen geht der Blick sofort hoch zu der offenen Holzdecke, unter der sternförmig und nach rätselhafter Ordnung Lamellen aller Längen, aber gleicher Höhe und Breite, schraubpressverleimt (als normierte Bolzbauverbindung) angebracht sind. Wie schon bei der Mensa in Berlin verhindern diese ein Durchbiegen der Decken-/Dachelemente. Sie sind nach einem einfachen wie zugleich detailliert gerechneten System sternförmig angeordnet, und zwar in der Weise, dass sich an den Plattenrändern die Momentennulllinie ergibt. Womit nur an diesen Punkten noch Schubkräfte über eine einfache Verblattung aufzunehmen sind. Anders als noch bei der Mensa in Berlin wurde bei ophelis mit diesem System kein Übergreifen nötig, alle Lamellen enden vor den Elementstößen. Die sternförmige Anordnung, so ist bei genauerem Hinsehen erkenntlich, bezieht sich nur auf ein Deckenelement. In der Gesamtuntersicht (s. Deckenspiegel) ergibt sich allerdings ein konsistentes, größeres Sternmuster.
Besprechungs- und Veranstaltungssaal: Hier liegen die Deckenelemente auf der Wandkonstruktion, die achte Y-Stütze hätte ziemlich mitten im Raum gestanden
Foto: Benedikt Kraft
Die Deckenelemente werden – immer 2,70 m breit und bis zu 8,5 m lang – in Längs- und Querrichtung zur Hauptachse aufgestellt/montiert. Je zwei Gabelstützen – als Pendelstützen konzipiert – tragen die beiden 8,5 m langen, quer zur Längsachse ausgerichteten Deckenelemente. Zwischen zwei aus je zwei Teilen bestehenden Querläufern wurden dann je acht längsgerichtete, 3,4 m breite und 6,3 m lange Elemente gelegt. Verbunden wurden alle an den Blattstößen mit einfachen Vollgewindeschrauben. Die Gabelstützen – aus zwei transportfähigen Halbrahmen zusammengesetzt, die wiederum jeder aus zwei Teilen zu einer Stütze verschraubt sind – schließen an ihren beiden Enden mit 1,25 m im Durchmesser großen Kopfplatten ab, über die die Stützen mit den langen Deckenelemente verschraubt sind. Die elegant schwingenden Bauteile waren aus formverleimten Lamellen geplant, ausgeführt wurden sie aus Kostengründen aus zwei Leimholzbindern mit Keilzinkverbindung. „Jetzt sind die Stützen ein reines Fräsprodukt“ wie Jens Ludloff im Gespräch zurückhalten formuliert. Das macht sie optisch nicht schlechter, den Architekten stört ganz offensichtlich der „zu hohe“ Materialverbrauch.
Aufrichten einer Y-Stütze mit aufgeschraubtem
Deckenelement
Foto: Ludloff Ludloff Architekten
Wie bei der Mensa in Berlin – in Bad Schönborn aber noch konsequenter gemacht – enden die Rippen deutlich vor der Fassade. Diese wird als lastabtragendes Bauteil auch nicht beansprucht, sie dient mit ihren 1,75 m aus der geschlossenen, ringförmig angelegten Holztafelbaufassade kragenden Pfosten (als „eingespannte Stützen“) der Aussteifung (zusammen mit dem Veranstaltungssaal). Man hätte hier die Deckenplatte über hölzerne Zapfen im Hirnholz mit den Pfosten fixieren können, der Einfachheit halber wurde der „Hutdeckel“ mit den Fassadenelementen lediglich verschraubt.
Zwischen die aufgestellen Querelemente wurden je acht Längsdeckenteile eingelegt und miteinander verschraubt
Foto: Ludloff Ludloff Architekten
Die Konstruktion des zweiachsig gespannten Plattenbalkentragwerks erlaubt die Ausbildung einer umlaufend gleichförmigen, schlanken Dachkante, die vielleicht subtil wirken mag, etwas für Connaisseure des Baukonstruktiven ist, aber nach Auffassung von Jens Ludloff bei jeder Besucherin das Gefühl erzeugt, dass „das Dach – und mit ihm ein sich einstellendes Gefühl der Entgrenzung – ziemlich lässig auf der Fassade [sitzt]“. Nun könnte man das Lässige auch in der Freude der Architektinnen daran erkennen, dass sie aufgrund der klug gedachten Vorelementierung in der Bauphase kein Gerüst benötigten; dass der Dachdecker am Ende dann doch seine Sturzabsicherung über ein Gerüst herstellen musste, spricht nicht gegen das Konzept der Architekten einer maximalen Vorproduktion von Elementen zur Minimierung der Aufwendungen auf der Baustelle.
Vorgefertigtes Querelement mit den sternförmig angebrachten Lamellen und den Vorbohrungen für die Stützenplatten
Foto: Schlosser
Gefragt, ob denn die Sterndeckenlandschaft auch gestalterischen Absichten gefolgt sei, war Überraschung spürbar: „Wir sind Gestalter und natürlich ist eine derart präsent sich darstellende Tragwerkslösung Teil unserer Gestaltung“, so Laura Fogarasi-Ludloff. In Bad Schönborn sei es, wie sonst auch immer, um ein sinnvolles Austarieren von konstruktiven Anforderungen und Gestaltungsaspekten gegangen. Man hätte auch stärker in die Untersicht eingreifen können, nicht jede Rippe sei in ihrer Länge notwendig, doch am Ende „hat uns das Gesamtbild überzeugt. Da noch feinzujustieren wäre vielleicht zu viel gewesen!“, so die Architektin.
Dichtgeschlossen wurde die Halle innerhalb von zwei Wochen. Die Vorfertigung der präzisen, schraubpressverleimten „Puzzleteile“ der Dachkonstruktion (Jens Ludloff) nahm insgesamt vier Wochen in Anspruch. Die Tragelemente bestehen aus 48 Deckenplatten, sieben Pendelstützen mit 13,60 m bzw. 9 m Stützweite und einer in Segmenten hergestellten, rund 135 m langen Holzständerfassade.
„Stütze, Unterzug, Decke ... das kann man, aber das muss man nicht machen“, so Jens Ludloff zur eigenen Forschung, die auf ein Bausystem von Gewerbehallen der besonderen Art zielt. Dass heute immer noch dem Trapezblech der Vorzug für solcherart Bauaufgaben gegeben werde, liegt – so der Architekt – einmal an der Leistungsfähigkeit dieser konstruktiv optimierten Bauteile, und natürlich immer noch am Preis. Dass der Holzbau hier in Zukunft mehr zu leisten in der Lage ist, auch im Hinblick auf Weiterverwertung, CO2-Fußabdruck und nicht zuletzt der Qualität des Raums insgesamt, davon ist er überzeugt. Dass hier noch einiges zu tun ist – beispielsweise biobasierter Leim, neue, aber heimische Holzarten, Holzverbindungen etc. – das spricht er deutlich, aber durchaus zuversichtlich aus. Und verweist auf ein aktuelles Projekt des Büros: So verstehe sich das „Sport- und Erlebnispädagogische Zentrum“ im thüringischen Kloster an der Bleichlochtalsperre als Projekt der „Einfachheit“: Hier wird ausschließlich Konstruktionsvollholz überwiegend aus (Borkenkäfer-)Schadholz verwendet, der Holzeinschlag erfolgt im unmittelbaren Umfeld und wird in einem lokalen Sägewerk verarbeitet. Konstruktion? Ein anderes Thema für spätere Ausgaben der DBZ!
Grundriss EG, M 1 : 500
1 Ausstellung
2 Besprechungs-/Veranstaltungsraum
3 Besucherzugang (Rüssel)
4 Konferenzraum
5 Küche
6 Lager
7 Anlieferung
[SCHAU]RAUM
ophelis hatte länger überlegt, wie sie ihren Neubau nennen sollten. „Showroom“ war schnell auf der Zunge, „Ausstellungshalle“, wie es die Architekten als Arbeitstitel vorsahen, eher nicht. Man fragte die Mitarbeiter, Kundinnen, Freunde. Es kam am Ende der „[Schau]Raum“ heraus, der die Halle der Architektinnen zum Raum adelt und die Show zum Imperativ: Schau und staune, könnte man schreiben, denn der Eindruck des immer wieder neu inszenierten Raums ist tatsächlich ein überraschender: Weite ist da und Intimität, Assoziationen zum Wald und zur technischen, digital gesteuerten Fertigung. Die Mitarbeiter des „Arbeitsweltengestalters“, wie ophelis sich selbst auch bezeichnet, haben den [Schau]Raum längst als ihren Arbeitsort entdeckt. Und ohne Platzreservierung auf dieser oder jener „Lichtung“ geht gar nichts. Besucherinnen erwünscht, bitte mit Anmeldung!
Momentenverläufe Decke
Abb.: Büro Andreas Kuelich, Berlin
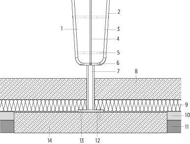
Fußpunkt Y-Stütze, M 1 : 33
1 Y-Stütze GL 24c
2 2x Bolzen M 12 x 360
3 Y-Stütze GL 24c
4 Schlitzblech 600/160/15 S 235
5 2x Bolzen M 12 x 360
6 Kopfplatte 240/180/25 S 235
7 Quadratrohr 160/90/71 S 235
8 Bodenplatte 25 cm
9 Perimeterdämmung 14 cm WLS 035
10 Sauberkeitsschicht 10 cm
11 kapillarbrechende Schicht 15 cm
12 Fußplatte 300/300/20 S 235
13 2x2 Würth FAZ/S M16-50/170
14 Fundament
Anschluss Kopfpunkt Y-Stütze, M 1 : 33
1 Grunddämmung Dach
2 BSPH Deckenelement 18 cm
3 12 x Bolzen M30 x 180 + Simpson Bulldog C2117M30G-B
4 Auflagerplatte d = 125 cm, t = 0,2 cm S 235
5 Auflagerplatte d = 45 cm, t = 0,25 cm S 235
6 Quadratrohr 140/71 S 235
7 Kopfplatte 150/150/15 S 235
8 Schlitzblech 600/130/15 S 235
9 6 x Bolzen M12 x 220
10 Y-Stütze GL 24c
Ludloff Ludloff Architekten, Berlin
Laura Fogarasi-Ludloff, Jens Ludloff
www.ludloffludloff.de
Foto: Benedikt Kraft
Baudaten
Objekt: Ausstellungshalle opheli
Bauherr: ophelis group GmbH & Co. KG, Bad Schönborn
Standort: Dr.-Alfred-Weckesser-Straße 1, Bad Schönborn
Architektur: Ludloff Ludloff Architekten, www.ludloffludloff.de
Team: Laura Fogarasi-Ludloff, Jens Ludloff, Magdalena Nottrott, Elise Moreau, Johannes Sack
Fertigstellung: 2022
Fachplaner
Tragwerksplanung: Andreas Kuelich, Ingenieurbüro für Tragwerksplanung, Berlin, www.andreaskuelich.de
Haustechnik: tgaplan Kinsch, Kronau, www.tgaplan-kinsch.de
Elektroplanung: Schweickert Elektrotechnik, Nußloch,
www.schweickert.de
Lichtplanung: a.g Licht, Köln,
www.aglicht.de
Bauphysik: Graner + Partner Ingenieure, Bergisch Gladbach,
www.graner-ingenieure.de
Brandschutz: Sachverständigenbüro für Brandschutz Arnhold, Weimar, www.arnhold-weimar.de
Außenanlagen: Günter Mader, Ettlingen, www.guenter-mader.com
Bauleitung: btd Bauteam Deutschland GmbH, Köln,
www.btd-bauteam.de
Ausführung Holzbau: Schlosser Holzbau GmbH, Jagstzell,
www.schlosser-projekt.de
Projektdaten
Grundstücksgröße: 3 260 m²
Grundflächenzahl: 0,8
Nutzfläche inkl. Verkehrsfläche: 1 207 m²
Technikfläche: 15 m²
Brutto-Grundfläche: 1 500 m²
Brutto-Rauminhalt: 8 364 m³
Baukosten (nach DIN 276): k. A.
Energie
Primärenergiebedarf: 72,1 kWh/m²a
Endenergiebedarf: 260,4 kWh/m²a
U-Wert Außenwand = 0,185 W/(m²K)
Hersteller
Doppelstegplatten: Gallina Deutschland GmbH, www.gallinadeutschland.de
Außentüren/-tore: Schörghuber,
www.schoerghuber.de, Tischler
Lichtkuppeln: INDU LIGHT,
www.indu-light.de
Beschläge: FSB, www.fsb.de
Oberflächenbeschichtung Holz innen/außen: Ladenburger,
www.ladenburger.de
Bodenbelag/-beschichtung:
Nora, www.nora.com
Beleuchtung: Zumtobel,
www.zumtobel.com, iGuzzini,
www.iguzzini.com, Trilux, www.trilux.com, Insta, www.instalighting.de, Louis Poulsen, www.louispoulsen.com, Delta Light, www.deltalight.com, Serien Lighting, www.serien.com
Elektroschalter: Jung,
www.jung-group.com
